第五章 第 2 节 常见传感器的工作原理及应用
问题?
我们知道,传感器可以感受光强、温度、力、磁等非电学量,并把它们转换为与之有确定对应关系的电学量输出。那么,常见的传感器是怎样感知非电学量,并将其转换为电学量的呢?利用不同的敏感元件制成的各种传感器又有哪些应用呢?
光敏电阻
有一些物质,例如硫化镉,电阻率与所受光照的强度有关。把硫化镉涂敷在绝缘板上,在其表面再用银浆涂敷两个互不相连的梳状电极,这样就制成了一个光敏电阻(图 5.2-1)。硫化镉表面受到的光照强度不同时,两个电极间的电阻也不一样。光敏电阻是光电传感器中常见的光敏元件。

实验
观察光敏电阻特性
将一只光敏电阻接到多用电表的两端,选择开关置于倍率为 ×100的电阻挡(图 5.2-2)。在室内自然光的照射下,电阻约有多大?用手掌遮光时电阻又是多少?用阳光直接照射呢?

换用一只普通的电阻,小心地把它表面的漆层除去一些,使里面的导电膜露出来接受光照。重做上述实验,结果相同吗?
光敏电阻在被光照射时电阻发生变化,原因是:硫化镉是一种半导体材料,无光照时,载流子极少,导电性能差;随着光照的增强,载流子增多,导电性变好。
光敏电阻能够把光照强弱这个光学量转换为电阻这个电学量。
光敏电阻有许多应用。例如,在产品生产的流水线上,常需要对产品计数。图 5.2-3 是利用光敏电阻自动计数的示意图,其中 A 是发光仪器,B 是接收光信号的仪器,B 中的主要元件是由光敏电阻组成的光电传感器。当传送带上没有物品挡住由 A 射向 B 的光信号时,光敏电阻的阻值较小,供给信号处理系统的电压变低;当传送带上有物品挡住由 A 射向 B 的光信号时,光敏电阻的阻值变大,供给信号处理系统的电压变高。这种高低交替变化的信号经过处理,就会转化为相应的数字,实现自动计数的功能。
金属热电阻和热敏电阻
除了光照以外,温度也能明显地影响金属导体和半导体材料的导电性能。金属热电阻和热敏电阻就是传感器中常见的感知温度的敏感元件。
金属的电阻率随温度的升高而增大(图 5.2-4 中的图线 1)。用金属丝可以制作温度传感器,称为热电阻。常用的一种热电阻是用铂制作的,可用来做电阻温度计。与金属不同,有些半导体在温度上升时导电能力增强(图 5.2-4 中的图线 2),因此可以用半导体材料制作热敏电阻。有一种热敏电阻是用氧化锰等金属氧化物烧结而成的,它的电阻随温度的变化非常明显。与热敏电阻相比,金属热电阻的化学稳定性好,测温范围大,但灵敏度较差。
金属热电阻和热敏电阻都能够把温度这个热学量转换为电阻这个电学量。
实验
观察热敏电阻特性
将多用电表的选择开关调到电阻挡(注意选择适当的倍率),然后仿照图 5.2-2 所示的方法,将一只热敏电阻连接到多用电表表笔的两端。
分别用手和冷水改变热敏电阻的温度,观察电阻的变化情况。
利用金属热电阻和热敏电阻的阻值与温度之间的对应关系,除了可用来测量温度,还可以有其他用处。如图 5.2-5 所示,一些汽车的低油位报警装置采用热敏电阻来检测油箱的警戒液位。若给热敏电阻通以一定的电流,热敏电阻会发热。当液面高于热敏电阻的高度时,热敏电阻发出的热量会被液体带走,温度基本不变,阻值较大,指示灯不亮(图 5.2-5 甲)。当液体减少、热敏电阻露出液面时,发热导致它的温度上升、阻值较小,指示灯亮(图 5.2-5 乙)。通过判断热敏电阻的阻值变化,就可以知道液面是否低于设定值。
电阻应变片
电阻应变片(图 5.2-6)是一种使用非常广泛的力敏元件。我们知道,电阻与导体的材料、长度和横截面积有关。当金属丝受到拉力时,长度变长、横截面积变小,导致电阻变大;当金属丝受到压力时,长度变短、横截面积变大,导致电阻变小。金属导体在外力作用下发生机械形变(伸长或缩短)时,其电阻随着它所受机械形变的变化而发生变化的现象,称为金属的电阻应变效应。金属电阻应变片就是利用这一原理制成的。除了金属电阻应变片外,常用的电阻应变片还有半导体电阻应变片,它的工作原理是基于半导体材料的压阻效应 [1] 。

电阻应变片能够把物体形变这个力学量转换为电阻这个电学量。
我们经常见到的电子秤,它所使用的测力器件是力传感器。常用的一种力传感器是由金属梁和电阻应变片组成的,其结构如图 5.2-7 所示,称为应变式力传感器。这种力传感器的工作原理如图 5.2-8 所示。弹簧钢制成的梁形元件右端固定,在梁的上下表面各贴一个应变片。在梁的自由端施力 F,则梁发生弯曲,上表面拉伸,下表面压缩,上表面应变片的电阻变大,下表面应变片的电阻变小。力 F 越大,弯曲形变越大,应变片的电阻变化就越大。如果让应变片中通过的电流保持恒定,那么上表面应变片两端的电压变大,下表面应变片两端的电压变小。传感器把这两个电压的差值输出。力 F 越大,输出的电压差值也就越大。

力传感器除了可以测量重力外(图 5.2-9),应变式力传感器也用来测量其他各种力,如汽车和卷扬机的牵引力等。
通过前面的学习可以知道,光敏电阻、热敏电阻、电阻应变片等电阻式传感器的工作共性是通过测量电阻的变化来确定外界非电学量的变化。与之类似,电容器的电容 C 决定于极板的正对面积 S、极板间的距离 d 以及极板间的电介质这三个因素。如果某个物理量的变化能引起上述某个因素的变化,从而引起电容的变化,那么,通过测定电容器的电容就可以确定这个物理量的变化,由此可以制成电容式传感器。电容式传感器有非常广泛的应用。
思考与讨论
如图 5.2-10 所示,当被测物体在左、右方向发生位移时,电介质板随之在电容器两极板之间移动。如果测出了电容的变化,就能知道物体位置的变化。用什么方法可以检测电容的变化?
电容式位移传感器能把物体的位移这个力学量转换为电容这个电学量。
拓展学习
霍尔元件
除了之前我们接触的干簧管以外,霍尔元件也是一种重要的磁敏元件,它根据霍尔效应原理制成。
1879 年,美国物理学家霍尔观察到,在匀强磁场中放置一个矩形截面的载流导体,当磁场方向与电流方向垂直时,导体中能够自由移动的带电粒子在洛伦兹力的作用下,向着与电流、磁场都垂直的方向漂移,继而在该方向上出现了电势差(图 5.2-11)。后来大家把这个现象称为霍尔效应,所产生的电势差称为霍尔电势差或霍尔电压。
除导体外,半导体也能产生霍尔效应,而且半导体的霍尔效应要强于导体。在一个很小的矩形半导体(如砷化铟)薄片上,制作四个电极 E、F、M、N,它就成了一个霍尔元件(图 5.2-12)。在 E、F 间通入恒定的电流 I,同时外加与薄片垂直的磁感应强度为 B 的磁场,则在 M、N 间可出现霍尔电压 UH。通过分析可知,霍尔电压 UH 与磁感应强度 B 有线性关系,因此利用霍尔元件可以测量磁感应强度的大小和方向。
霍尔元件能够把磁感应强度这个磁学量转换为电压这个电学量。
霍尔元件除了可以检测磁场及其变化,还可以在各种与磁场有关的场合中使用。图 5.2-13 就是利用霍尔元件进行微小位移的测量。在两块磁感应强度相同、同极相对放置的磁体缝隙中放入霍尔元件,当霍尔元件处于中间位置时,磁感应强度 B 为 0,霍尔电压 UH 为 0,可将该点作为位移的零点。当霍尔元件沿着 ±z 方向移动时,则有霍尔电压输出,且电压大小与位移大小成正比,从而能够实现微小位移的测量。
练习与应用
本节共设置 3 道习题。第 1 题主要加强对常见传感器的认识和理解。第 2 题通过回顾线圈电感的影响因素,说明位移传感器的工作原理,考查学生的科学探究能力。第 3题要求学生结合生活经验说明电饭锅中温度传感器的应用原理。
1.按照你对以下几种传感器的理解,填写下面的表格。
传感器名称 |
输入的物理量 |
输出的物理量 |
光敏电阻 |
|
|
热敏电阻 |
|
|
金属热电阻 |
|
|
电阻应变片 |
|
|
电容式位移传感器 |
|
|
参考解答:光照强度,电压(电阻);温度,电压(电阻);温度,电压(电阻);力,电压(电阻);位移,电压(电容)
2.图 5.2-14 是一种电感式微小位移传感器的原理图。1 是待测位移的物体,3 是空心线圈,软铁芯 2 插在线圈 3 中并且可以随着物体 1 在线圈中左右平移。这种传感器可以把被测物体位移的大小转换为线圈自感系数的大小,请定性说明它的工作原理,并尝试设计与线圈 3 相连的电路。
参考解答:线圈应串联交流电源和电流表。当待测物体位移变化时,软铁芯 2 在线圈 3 中的长度变化,线圈 3 的电感就发生变化。这一变化在电路中转换为电流的变化(通过电流表显示),这样电流的变化就与位移的变化建立起对应关系,电流的变化量就反映出被测物体的位移。
3.电饭锅中应用了温度传感器,它的主要元件是感温铁氧体,其特点是:常温下感温铁氧体具有铁磁性,能够被磁体吸引,但是温度上升到约 103 ℃时,就失去了铁磁性,不能被磁体吸引了。这个温度在物理学中称为该材料的“居里点”。电饭锅的结构如图 5.2-15 所示,请结合温度传感器的特点回答以下问题:
(1)开始煮饭时为什么要压下开关按钮?手松开后这个按钮是否会恢复到图示状态?为什么?
(2)煮饭时水沸腾后锅内还有一定水分时,为什么锅的温度会保持 100 ℃ 而不会持续升高?
(3)饭熟后,水分被大米吸收,锅底的温度会有什么变化?这时电饭锅会自动地发生哪些动作?
(4)如果用电饭锅烧水,能否在水沸腾后自动断电?
参考解答:(1)开始煮饭时用手压下开关按钮,永磁体与感温铁氧体相吸,手松开后,由于此时锅内温度低于感温铁氧体的居里点,感温铁氧体与永磁体相吸,按钮不会恢复到图示状态,这样触点保持接通,电热板通电加热。
(2)水沸腾后,当锅内有一定水分时,由于水沸腾时温度保持不变,故锅内温度保持 100 ℃ 不变,因此感温铁氧体未达到居里点仍有磁性,保持与永磁体相吸引,继续加热至饭熟。此过程中温度基本不变。
(3)饭煮熟后水分被大米吸收,锅底温度升高,当温度升高达到感温铁氧体的居里点 103 ℃ 时,感温铁氧体失去磁性,在弹簧作用下永磁体被弹开,触点分离,切断电源,停止加热。
(4)如果用电饭煲烧水,在水沸腾后只要锅内有水,温度将保持在 100 ℃,没有达到感温铁氧体的居里点,故不能自动断电。只有水烧干后,温度升高到 103 ℃ 才能自动断电。
[1] 当单晶半导体材料沿某一轴向受到外力作用时,其电阻率发生变化的现象,称为压阻效应。
第 2 节 常见传感器的工作原理及应用 教学建议
1.教学目标
(1)认识传感器就是把非电学量转换为电学量的装置,其主要元件是敏感元件。
(2)了解光敏电阻、金属热电阻、热敏电阻和电阻应变片等材料的物理特性,知道利用其特性可以制作传感器的敏感元件。
(3)利用电容器的结构改变影响电容的性质,设计电容式位移传感器。
2.教材分析与教学建议
本节内容分别以光敏电阻、金属热电阻和热敏电阻、电阻应变片、霍尔元件等传感器元件为代表,介绍光、热、力、磁中常见传感器的工作原理,并从原理和应用两个层面认识传感器。有关本节的几种敏感元件的教学,建议教师不仅要引导学生认识和运用它们,更重要的是引导学生分析物理量的转换过程,培养学生基于实际情境提炼、分析各种要素和解决需求的应用实践意识和能力。可以采用演示实验或分组实验来认识敏感元件材料的特性。
本节内容的重点为几种传感器的具体应用过程,难点在如何把各种物理量的变化转换为方便传输的电学量,这既是传感器原理的核心部分,也是培养学生创新能力的核心环节。建议教师在教学时,要突出这种转换思维。
(1)问题引入
根据“问题”栏目,可以选取一种具体的传感器展开讨论。例如,利用一个在超市购买的光控小夜灯,把手指放到通电的小夜灯感光孔前,小夜灯发光;移开手指,小夜灯熄灭。小夜灯能像人眼一样感知光线的亮暗,说明里面有光传感器。然后提出问题:“这个传感器有什么样的敏感元件?这个敏感元件是如何感知光线变化的?又如何把感知到的信息传递出来?其工作特性是什么?”由此引出光敏电阻。
(2)光敏电阻
引导学生结合教材图 5.2–1,了解光敏电阻的结构、制造材料、应用等有关知识。光敏电阻是一种阻值随入射光的强弱而改变的电阻器。一般它所用的材料主要有硒、硫化镉、硫化铝等。它的敏感波长在可见光附近,包括红外线和紫外线。光敏电阻价格低,不易损坏,适合学生实验。根据教材图 5.2–2 的实验,探究光敏电阻的特性时,可以采用手遮挡的方法,直接观察到电阻随光照的变化而变化,并且能够让学生再次练习使用多用电表。教学中,让学生以实验操作的方式将光敏电阻与普通电阻进行对比研究,从而了解光敏电阻对光照的高度敏感性,以及其能将光照强弱这个光学量转换为电阻这个电学量。
教学片段
观察光敏电阻特性
实验设计:
方案一:如教材图 5.2–2 所示。用多用电表测定不同光照情况下(手指挡住、迎光、背光、放在抽屉里等)光敏电阻的阻值。在相同条件下,用普通电阻进行对比实验。
方案二:在直流电路中,在不同光照情况下,通过与电阻串联的小灯泡的明暗程度变化,比较光敏电阻阻值的变化情况。在相同条件下,用普通电阻进行对比实验。
操作要求:光敏电阻无极性之分,暗电阻的阻值大于 1 MΩ、亮电阻的阻值小于 1 kΩ,所以多用电表应分别选用“× 10”或“× 1 k”挡。
交流讨论:光敏电阻是把光照强弱这个光学量转化成了什么电学量?
引导学生阅读教材中光敏电阻的工作原理,能够扩展学生关于物质导电性的知识。除了已学到的金属的自由电子导电和溶液的离子导电,又认识了半导体依靠载流子导电的机理,学生有所领会即可,不要求掌握。
学生学习光电计数的基本原理后,可以列举光敏电阻的其他应用,例如路灯自动开关、楼道消防应急灯、汽车自动大灯的感应装置等,以培养学生的发散性思维和实践意识。
(3)金属热电阻和热敏电阻
结合之前学过的电阻定律,学生知道金属导体电阻率与温度有关,教师可以通过分别解读教材图 5.2–4 中金属热电阻和热敏电阻与温度的定性关系,让学生了解两种电阻的不同特性,知道两种电阻都能把温度这个热学量转化为电阻这个电学量。
热敏电阻是开发早、种类多、发展较成熟的敏感元件之一,其阻值会随着温度的变化发生显著的变化。教学中,可以让学生使用便宜的负温度系数热敏电阻做随堂实验。例如,产品型号为 MF11 的热敏电阻,外形为直径 5 ~ 10 mm 的小圆片,表面涂绿色或黑色漆层,有两根金属引脚,其标称阻值(即常温 20 ℃ 时的阻值)为 500 Ω。需要注意的是,片状热敏电阻是不防水的,如果耍利用水来研究它的温度特性时,需要对它进行防水处理。
教学片段
观察金属热电阻和热敏电阻的特性
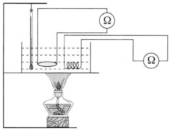
实验设计:实验装置如图 5–1 所示,将多用电表的选择开关调到电阻挡,然后将金属热电阻和热敏电阻分别连接到多用电表表笔的两端。用酒精灯加热冷水,观察电阻的变化情况。

操作要求:注意多用电表倍率的选择,建议热敏电阻选“× 1 k”挡,金属热电阻选“× 10”挡。
进行实验:学生观察并记录不同温度下的两个电表的示数,并记录在表格中。实验时可以三人一组,让一位同学观察温度计的示数,让另外两位同学各读一个表的示数。
数据处理:用描点法处理表格中的数据,在坐标纸上绘出电阻一温度特性图像。
图像分析:讨论图像给我们带来的有用信息,并用简洁的语言表达出来。例如,当温度升高时,这两种电阻将发生怎样的变化?如果温度变化相同,你会发现这两种电阻哪个将发生明显的变化?
对于教材图 5.2–5 的液位报警,也可以利用上述实验器材进行模拟,但重在引导学生分析报警的原理。
引导学生列举生活中与热敏电阻有关的应用实例,如煤气灶熄火断气保护器、火灾报警、电饭煲、热水器等。
(4)电阻应变片
引导学生通过阅读教材了解金属的电阻应变效应,知道金属电阻应变片和半导体电阻应变片都能够把物体形变这个力学量转换为电阻这个电学量。应变式力传感器是金属电阻应变片的一个常见应用,引导学生分析清楚其应用的过程:当金属梁受力弯曲时,上下表面发生微小的形变,并由应变片将此微小形变转换为电阻的微小变化,最终将电阻变化转换为输出的电压差,从而反映出外力的大小。
这里可以给学生补充一些“形变”的知识。一根直梁弯曲时,其凸出的表面将发生伸长形变,而凹下的表面则发生压缩形变。可以在一块长条形橡皮的侧面戎上下两个表面上各画出一些小方格(图 5–2),然后用手弯曲这块橡皮,就能够从方格的形状变化验证上述规律。

引导学生列举生活中与力传感器有关的应用实例,如电子秤、地磅、卷扬机牵引力测量等。
通常金属电阻应变片应变微小,其电阻变化也很微小,若要用欧姆表直接测量其电阻的微小变化是很困难的,所以需要采用其他稍复杂的办法才能测量(如惠斯通电桥和放大电路)。囿于高中阶段的实际情况,此部分内容不便做相关实验,但是可以鼓励学有余力、动手动脑能力强的学生,上网查询各种资料和购买相关元件,尝试制作电子秤。
(5)电容式传感器
结合平行板电容器的公式,学生容易理解电容式传感器能将位移这个力学量转换为电容这个电学量。此处教学的重点应放在启发学生发散性思考:只要能让某个物理量的变化能引起电容器两极板的正对面积、极板间的距离以及极板间的电介质这三个因素的变化,就可以转化为电容的变化。
(6)霍尔元件
此部分内容作为拓展学习的内容,供学有余力的学生掌握。通过阅读教材,引导学生了解霍尔元件也是一种重要的磁敏元件,其主要原理是霍尔效应,了解霍尔电压的产生原因。
对于下述霍尔电压表达式的推导过程不做过高要求,仅供学有余力的学生参考。
在教材图 5.2–11、5.2–12 中,通过恒定电流 I 的载流导体中,定向移动的带电粒子 q 受到外加磁场 B 产生的洛伦兹力和因霍尔电压 UH 产生的电场力,带电粒子定向的移动速率为 v,二者平衡时有 Eq = qvB。设导体沿 z 方向的宽度为 l,则 E = \(\frac{{{U_{\rm{H}}}}}{I}\)。若导体单位体积内的自由电荷数为 n,导体沿 y 方向的厚度为 d,根据电流的微观表达式,有 I = nqvld。根据上述各式可得霍尔电压的表达式为 UH = \(\frac{{IB}}{{nqd}}\)。由表达式可知,当式中其他物理量一定时,UH 与 B 成正比。因此,霍尔元件能把磁感应强度这个物理量转换为电压这个电学量。
教材图 5.2–13 还介绍了可以利用霍尔元件测量微小位移.在此只做定性了解.以拓展学生思维。
霍尔传感器是由霍尔元件、放大器、温度补偿电路及稳压电路构成的。它能感应磁感应强度等物理量,并能输出控制信号,具有体积小、灵敏度高、无磨损、功耗低等优点,被广泛应用于数字和模拟霍尔效应位置传感器、霍尔效应叶片传感器、霍尔效应微动开关等。可以让学生自行查阅相关应用。
3.“练习与应用”参考答案与提示
本节共设置 3 道习题。第 1 题主要加强对常见传感器的认识和理解。第 2 题通过回顾线圈电感的影响因素,说明位移传感器的工作原理,考查学生的科学探究能力。第 3 题要求学生结合生活经验说明电饭锅中温度传感器的应用原理。
1.
传感器名称 | 输入的物理量 | 输出的物理量 |
光敏电阻 | 光照强度 | 电压(电阻) |
热敏电阻 | 温度 | 电压(电阻) |
金属热电阻 | 温度 | 电压(电阻) |
电阻应变片 | 力 | 电压(电阻) |
电容式位移传感器 | 位移 | 电压(电容) |
2.线圈应串联交流电源和电流表。当待测物体位移变化时,软铁芯 2 在线圈 3 中的长度变化,线圈 3 的电感就发生变化。这一变化在电路中转换为电流的变化(通过电流表显示),这样电流的变化就与位移的变化建立起对应关系,电流的变化量就反映出被测物体的位移。
3.(1)开始煮饭时用手压下开关按钮,永磁体与感温铁氧体相吸,手松开后,由于此时锅内温度低于感温铁氧体的居里点,感温铁氧体与永磁体相吸,按钮不会恢复教材图示状态,这样触点保持接通,电热板通电加热。
(2)水沸腾后,当锅内有一定水分时,由于水沸腾时温度保持不变,故锅内温度保持 100 ℃ 不变,因此感温铁氧体未达到居里点仍有磁性,保持与永磁体相吸引,继续加热至饭熟。此过程中温度基本不变。
(3)饭煮熟后水分被大米吸收,锅底温度升高,当温度开高达到感温铁氧体的居里点 103 ℃ 时,感温铁氧体失去磁性,在弹簧作用下永磁体被弹开,触点分离,切断电源,停止加热。
(4)如果用电饭锅烧水,在水沸腾后只要锅内有水,温度将保持在 100℃,没有达到感温铁氧体的居里点,故不能自动断电。只有水烧干后,温度升高到 103℃ 才能自动断电。
发布时间:2022/7/30 下午8:39:58 阅读次数:3778